投诉申请表潍律诉字【2026】第 111 号
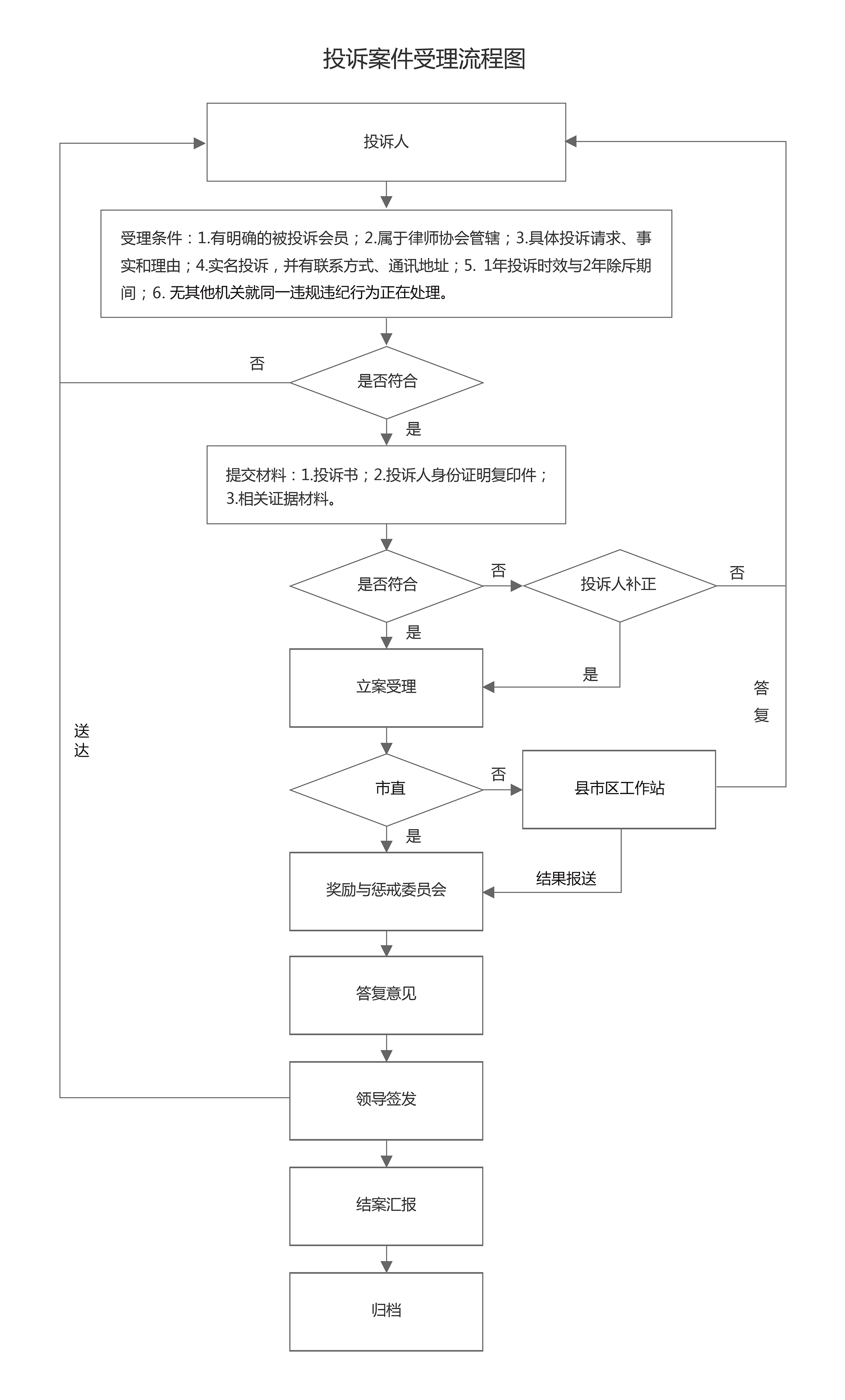
(一)投诉人的投诉应当符合下列条件:
(1)与被投诉会员或投诉事项有法律上的利害关系,或虽无法律上的利害关系,但是知道且有证据证明会员具有违规行为;
(2)有明确的被投诉人;
(3)有具体的投诉请求、事由、理由及相应的证据材料;
(4)投诉事项属于律师协会受理范围;
(5)实名投诉,并有个人基本情况及联系方式;
对于没有投诉人投诉的会员涉嫌违规行为,律师协会有权主动调查并作出处理。
(二)投诉事项属于下列情形的,不予受理:
(1)超过投诉查处时效的;
(2)依法应当通过诉讼、仲裁、行政复议等法律途径解决的;
(3)投诉事项与律师执业行为无关的;
(4)不能或拒绝提供基本证据材料的,或证据材料不足、无法证明违规事实的;
(5)匿名投诉且未提供有关证据材料的;
(6)投诉事项已经受理,投诉人又向该受理部门的上级单位再次投诉的;
(7)已经律师协会处理结案,投诉人基于同一事实,没有新的证据再次投诉的;
(8)其他不属于律师协会职权范围的。
司法机关或行政部门正在就会员的同一违纪违规行为进行处理的,律师协会暂不受理。
1、投诉书(投诉人亲笔签名或按捺手印,否则无效),投诉书应包含以下内容:
(1)投诉人姓名、性别、联系电话、通讯地址及邮箱;
(2)被投诉的律师事务所及律师;
(3)投诉请求和要求;
(4)投诉的事实和理由。
2、投诉人与律师事务所签订的委托代理合同(复印件)
3、律师事务所收费票据(复印件)
4、投诉人身份证(复印件),如有代理人 ,还需提交投诉人授权投诉的授权委托书(原件)及代理人身份证(复印件);
5、投诉人能够提供的证明其投诉主张的证据材料,相关的裁判文书(复印件)。
6、投诉人为单位的,除上述材料外,还需提交以下材料:
(1)单位营业执照副本(复印件);
(2)单位出示法定代表人身份证明(原件)及法定代表人的身份证(复印件)。如有代理人,需提供法定代表人授权投诉的授权委托书(原件)及代理人身份证(复印件)。
2、录音、录像等视听资料应整理成书面文字,由当事人在每一页上签字并捺手印。
3、未经律师协会许可,不得录音或录像;
4、来访人员必须遵守法律法规有关规定,依法依规依章投诉、举报,将就文明、注意卫生、自觉维护投诉、举报秩序和接待室的正常工作秩序;
5、来访人员必须按照来访顺序,由接待人员依次接待,来访者所带的文字材料、信件、证件和其他财务,本人应妥善保管;
6、按照“属地管辖,分级负责”的原则,来访人员应听从接待人员的处理意见;
7、来访人员超过10人,应当推选代表,代表人数不超过3人;
8、投诉人向律师协会投诉的同时,不影响投诉人向法院诉讼或向仲裁机构申请仲裁,投诉查处程序自法院或仲裁机构受理之日终止;
9、来访人员应当遵守法律、法规、不得损害国家、社会、集体的利益和其他公民的合法权利,自觉维护社会公共秩序和投诉秩序;
10、投诉人不遵守有关规定,影响投诉接待工作的,投诉中心工作人员应当对投诉人进行劝阻、批评或者教育,经劝阻、批评或者教育无效的,交由公安机关处理,涉嫌犯罪的,依法追究刑事责任;
11、来访人员所带物品自行妥善保管,食宿、路费一律自理。